|
|
|
|
|
|
本文是Jtti香港云服務器測評情況,配置2核4G 5M CN2。
Ping延遲
先看看本地ping的延遲效果,如下所示:
可以看到本地Ping的平均延遲在43ms,這個延遲對于香港云服務器來說還是相當不錯的,并且網絡非常的穩定,基本沒有丟包的情況。
我們再看看全國電信、聯通、移動三網的延遲情況,如下所示∶

可以看到全國三網Ping的平均延遲在42ms左右,其中電信網絡延遲42ms左右,聯通網絡延遲38ms左右,移動網絡延遲51ms左右。
網絡穩定性
下面我們再看看全球各節點網絡穩定性,如下所示︰

可以看到全球各地網絡穩定性還是相當不錯的,基本都沒有丟包的情況,而且可以看到亞洲地區網絡延遲都非常的低。
去程路由
下面看看Jtti香港云服務器的三網去程路由線路情況。
電信去程路由∶

電信去程路由是從上海網口出去,然后直連香港機房,并且走的是59.43的CN2線路。
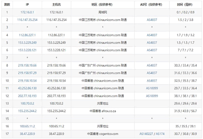
聯通去程路由∶

聯通去程路由是從廣州網口出去,然后直連香港機房,走的是AS4837線路。
移動去程路由∶

移動去程路由是從廣州網口出去,然后直連香港機房,走的是移動CMI線路。
回程路由
我們再來看看三網回程路由線路情況。
電信回程路由∶

電信回程路由是從直連回到國內網口,并且走的是59.43的CN2線路。所以電信網絡走的是雙向CN2線路。
聯通回程路由∶

聯通回程路由是從香港直連回到國內網口,走的AS4837線路。
移動回程路由︰

移動回程路由是直連國內網絡,走的是CMI線路。
所以總結下三網的去程和回程路由︰電信雙向CN2、聯通雙向AS4837、移動雙向CMI。
性能和速度
下面我們看下Jtti這款香港云服務器的性能和速度怎么樣,如下所示:

可以看到服務器使用的是英特爾E5-2680 V3的處理器,主頻是2.5GHz,磁盤IIO在159MB/秒,這個性能還是相當不錯的。
我這款測試機使用的是5Mbps的帶寬,所以可以看到全球各地上傳和下載速度基本都跑滿了5Mbps。
以上就是關于Jtti的香港云服務器相關測評介紹,第三方測評工具可用卡卡網(www.cuckooft.com)。從延遲、穩定性、線路各個方面來說,Jtti的這款香港云服務器還是相當不錯的,非常適合我們大陸地區用戶使用,有需要香港云服務器的用戶可以參考選擇。
Jtti簡介
Jtti是一家正規專業的新加坡服務商,具備相應的營業資質,擁有bizfile證書,ACRA證書,主要經營新加坡/中國香港/美國的云服務器,物理服務器。擁有專業的技術團隊,資深精英人才常駐,行業經驗豐富,機房擁有CN2 GIA+BGP線路,線路穩定,速度快,適合海內外用戶使用。
現在Jtti正推出云服務器全場特惠活動,云服務器低至2折,永久$2/月,堪稱史上最低優惠,有興趣可以去看看。
