|
|
|
|
|
|
本文將給大家介紹Jtti香港獨立服務器的測評報告,報告主要包括幾大內容:Ping延遲、丟包率、三網路由、性能和速度等。
服務器配置:E5-2660,16G。
Ping延遲
先看看本地Ping的延遲效果,如下所示:

可以看到本地Ping的平均延遲在45ms左右,這個延遲對于香港服務器來說還是相當不錯的,并且可以看到網絡很穩定,基本沒有丟包的情況。
下面看看全國三網Ping的延遲效果,如下所示:

全國三網Ping的平均延遲在53ms左右,其中電信網絡50ms,聯通網絡107ms,移動網絡50ms。
網絡穩定性
下面是通過第三方工具測評的全球各地網絡穩定性情況,如下所示:

可以看到全球各節點網絡穩定性還是相當不錯的,不管是國內還是國外基本都沒有丟包的情況,亞洲地區延遲都在100ms以內。
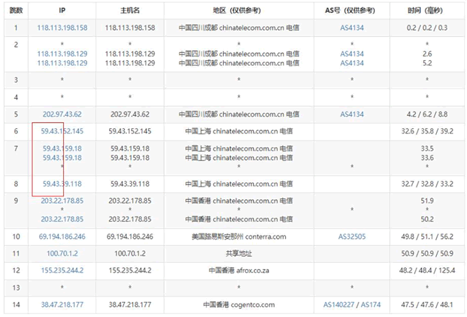
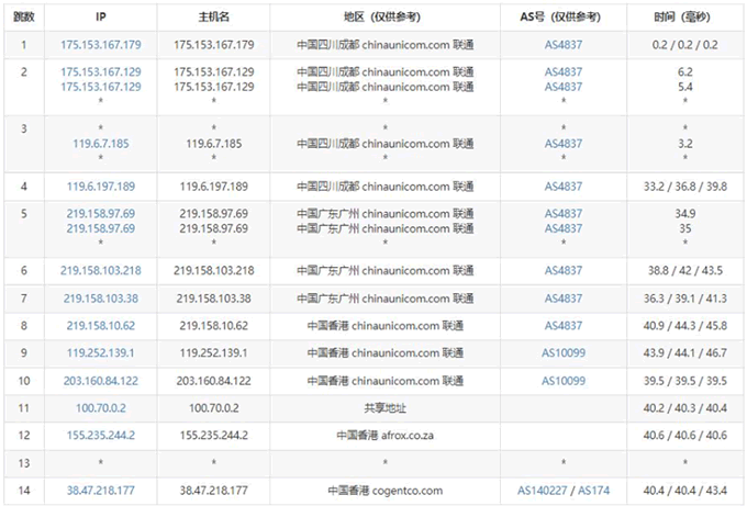
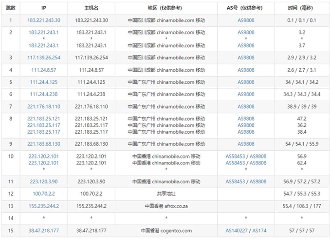
三網去程和回程路由
我們下面來看看香港服務器三網去程和回程路由情況。
電信去程路由:

電信去程路由是從上海網口出去,然后直連香港機房,走的是59.43的CN2線路。
聯通去程路由:

聯通去程路由是從廣州網口出去,然后直連香港機房,走的是AS4837線路。
移動去程路由:

移動去程路由是從廣州網口出去,然后直連香港機房,走的是移動CMI線路。
下面我們再看三網回程路由情況。
電信回程路由:

電信回程路由直連國內網口,并且走的是59.43的CN2線路。
聯通回程路由:

聯通回程路由從廣州網口進入,走AS4837線路。
移動回程路由:

移動回程直連國內網口,走CMI線路。
所以總結下就是:電信雙向CN2,聯通雙向AS4837,移動雙向CMI。
服務器性能和速度
最后我們看看香港服務器性能和速度怎么樣,如下所示:

可以看到這款香港服務器使用的2.2 GHz主頻CPU,磁盤IO在378MBI秒左右,性能還是不錯的。
上傳速度差不多達到了100Mbps,下載速度跑滿10Mbps。
總結
以上就是關于Jtti的香港獨立服務器相關測評介紹,第三方測評工具可用卡卡網(www.cuckooft.com)。整體來說這款香港服務器還是相當不錯的,延遲低、網絡穩定、速度快,適合國內用戶使用。
Jtti公司簡介
Jtti是一家正規專業的新加坡服務商,具備相應的營業資質,擁有bizfile證書,ACRA證書,主要經營新加坡/中國香港/美國的云服務器,物理服務器。擁有專業的技術團隊,資深精英人才常駐,行業經驗豐富,機房擁有CN2 GIA+BGP線路,線路穩定,速度快,適合海內外用戶使用。
更多評測文章
最新優惠
